SELF-SANITISATION AGAINST BACTERIA AND FUNGI
Technopolymer
Wheel body
Polyamide based (PA) technopolymer.
Rolling action
Hub with ball bearings. Ideal solution for heavy loads and continuous moving.
Fixed plate bracket
Electrolytically zinc-plated electro-welded steel. The bracket is designed to withstand loads up to 9000N. Suitable for heavy industrial applications and for severe conditions of use, such as impact and high speeds.
Turning plate bracket
Electrolytically zinc-plated electro-welded steel.
The presence of an axial bearing and a conical bearing ensures excellent manoeuvrability also at full load and increases the resistance of the bracket against side impact. It is equipped with lubricator and anti-loosening system of the locking nut. The bracket is designed to withstand loads up to 9000N. Suitable for heavy industrial applications and for severe conditions of use, such as impact and high speeds.
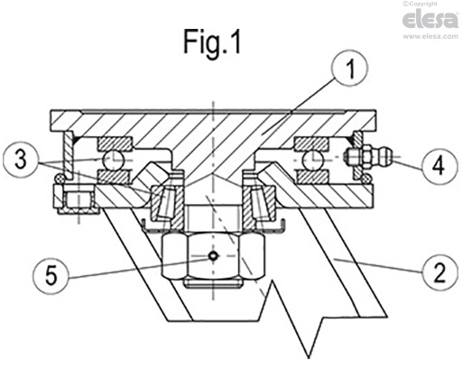
It consists of (see Fig.1):
- fitting plate: forged steel with built-in pin, electrolytically zinc-plated;
- fork: drawn sides electro-welded to the flange, electrolytically zinc-plated;
- rotation system: axial ball bearing and conical roller bearing;
- lubricator
- anti-loosening system of the locking nut.
Brake
Dual-effect rear brake with simultaneous locking of wheel and bracket. The brake is simple and effective to use: it is actuated and released by a simple action from the top downward at the tip of two separate pedals, thus ensuring the utmost manoeuvring comfort. The braking efficacy may be adjusted with a socket head screw M8.
Standard executions
- PSL-WH: fixed plate bracket, without brake.
- SSL-WH: turning plate bracket, without brake.
- SSF-WH: turning plate bracket, with brake.
Applications
Suitable for heavy industrial applications, due to loads up to 9000 N. Excellent wear and tearing resistance. For further information see wheel technical data sheet RE.F8.