RE.F8-WH Monolithische Räder mit Gehäuse für schwere Lasten

Kunststoff Thermoplast

 
 

Artikel auswählen

loading

Produktionsvorgabe

Scrollen Sie horizontal
Ausführung

Radkörper

Kunststoff Thermoplast, Polyamid (PA).

Lagerung

Nabe mit Kugellager. Ideale Lösung für hohe Lasten und laufenden Einsatz.

Feststehendes Gehäuse

Galvanisch-verzinktes, elekrogeschweißtes Stahlblechgehäuse. Die Gehäuse gelten für Lasten bis zu 9000N. Geeignet für schwere industrielle Anwendungen und schwere Einsatzbedingungen, wie Seitenaufprall und hohe Geschwindigkeiten.

Lenkgehäuse

Galvanisch-verzinktes, elekrogeschweißtes Stahlblechgehäuse.

Die Präsenz eines Axiallager und eines konischen Lagers gewährleisten ausgezeichnete Manövrierbarkeit und ein ganz geringes Spiel. Ausgestattet mit Schmiervorrichtung und Sperrsystem der Verriegelungsmutter. Die Gehäuse gelten für Lasten bis zu 9000N. Geeignet für schwere industrielle Anwendungen und schwere Einsatzbedingungen, wie Seitenaufprall und hohe Geschwindigkeiten.

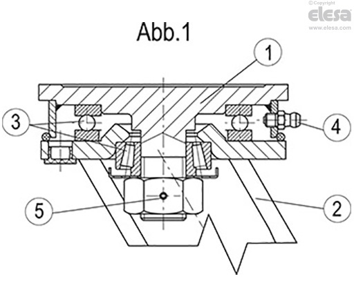
Bestehend aus (siehe Abb. 1):

  1. Platte: Schmiedestahl mit integriertem Stift, galvanisch verzinkt;
  2. Lenkgabel: Seiten an den Flansch elektrogeschweißt, galvanisch verzinkt;
  3. Lagerung: zweifache Kugellagerung, fettgeschmiert;
  4. Schmiervorrichtung;
  5. Sicherungsmutter mit Gewindesicherung

Bremse

Doppelt wirkender Bremseffekt mit gleichzeitiger Feststellung von Rad und Gehäuse. Die Bremse ist leistungsstark und einfach zu bedienen: ein einfacher Druck mit der Fußspitze von oben nach unten auf zwei unabhängige Pedale sperrt und entsperrt die Bremse, was das Manövrieren extrem einfach macht. Die Wirksamkeit der Bremse kann mit einer Sechskantschraube M8 eingestellt werden.

Standardausführung

  • PSL-WH: Rad mit feststehendem Gehäuse, ohne Bremsen
  • SSL-WH: Rad mit Lenkgehäuse, ohne Bremse
  • SSF-WH: Rad mit Lenkgehäuse, mit Bremse
RE.F8-PSL-WH - Feststehendes Gehäuse ohne Bremse 
Hinweis

Anwendungen

Geeignet für schwere industrielle Anwendungen, aufgrund der Lasten bis zu 9000 N. Hervorragende Verschleiß-und Reißfestigkeit. Weitere Informationen finden im Datenblatt zu RE.F8.

Elesa
Modelle, alle Rechte vorbehalten in Übereinstimmung mit dem Gesetz. Bei Reproduktion der Zeichnungen, bitte immer Quellenangabe.

Frage zum Produkt

Diese Website ist durch reCAPTCHA Enterprise geschützt und es gelten die Datenschutzbestimmungen und Nutzungsbedingungen von Google.