RE.F8-WH Ruote monolitiche con supporto per carichi pesanti

Tecnopolimero

 
 

Seleziona articolo

loading

Specifiche tecniche

Scorri orizzontalmente
Specifiche principali

Corpo ruota

Tecnopolimero a base poliammidica (PA).

Tipo di scorrimento

Mozzo con cuscinetti a sfere. Soluzione ideale per carichi elevati e per movimentazioni di tipo continuativo.

Supporto a piastra fissa

Acciaio elettrosaldato con zincatura elettrolitica. Il supporto è studiato per resistere a carichi fino a 9000N. Adatto alle applicazioni industriali pesanti e condizioni di impiego gravose, come urti laterali e velocità elevate.

Supporto a piastra girevole

Acciaio elettrosaldato con zincatura elettrolitica.

La presenza di un cuscinetto assiale e di un cuscinetto conico garantisce un'ottima manovrabilità anche a pieno carico ed aumenta la resistenza del supporto agli urti laterali. E' dotato di ingrassatore e di sistema anti-allentamento del dado di bloccaggio. Il supporto è studiato per resistere a carichi fino a 9000N. Adatto alle applicazioni industriali pesanti e condizioni di impiego gravose, come urti laterali e velocità elevate.

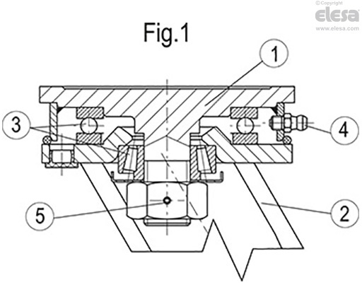
E’ costituito da (vedi Fig.1):

  1. piastra: acciaio forgiato con perno integrato, zincatura elettrolitica;
  2. forcella: orecchie imbutite elettrosaldate alla flangia, zincatura elettrolitica;
  3. organi di rotazione: cuscinetto assiale a sfere e cuscinetto a rulli conici;
  4. ingrassatore;
  5. sistema anti-allentamento del dado di bloccaggio.

Freno

Freno posteriore a doppio effetto con bloccaggio contemporaneo di ruota e supporto. Il freno e' efficace e semplice da usare: viene azionato e sbloccato con una semplice azione dall'alto verso il basso della punta del piede su due pedali indipendenti, garantendo in tal modo la massima comodità di manovra. L'efficacia della frenatura è registrabile con una vite M8 con cava esagonale.

Esecuzioni standard

  • PSL-WH: supporto a piastra fissa, senza freno.
  • SSL-WH: supporto a piastra girevole, senza freno.
  • SSF-WH: supporto a piastra girevole, con freno.
RE.F8-PSL-WH - Supporto a piastra fissa, senza freno 
Informazioni generali

Applicazioni

Adatto alle applicazioni industriali pesanti, grazie a portate fino a 9000 N. Ottima resistenza all'usura e alla lacerazione. Per ulteriori informazioni si rimanda alla scheda della ruota RE.F8.

Elesa
Proprietà dei modelli riservata ai termini di legge. Disegni e immagini non riproducibili se non citando la fonte.

RICHIEDI INFORMAZIONI ALL'ESPERTO