RE.F2-WH Roulettes avec monture pour charges Lourdes

Bandage en polyuréthane soft

 
 

Sélectionner l'article

loading

Details techniques

Faire défiler horizontalement
Spécifications principales

Bandage

Polyuréthane soft coulé, dureté 75 Shore A.

Corps central de la roue

Aluminium moulé sous pression.

Type de roulement

Moyeu avec roulements à billes. Solution idéale pour les charges élevées et pour les déplacements de type continu.

Monture à platine fixe

Acier électro-soudé avec zingage électrolytique. La monture est conçue pour résister à une charge maximum de 7000N. Appropriée pour des applications industrielles lourdes et des conditions difficiles de travail, telles que les chocs latéraux et les vitesses élevées.

Monture à platine pivotante

Acier électro-soudé avec zingage électrolytique.

La présence d'un roulement axial et d'un roulement conique assure une excellente maniabilité, même à pleine charge et augmente la résistance de la monture aux chocs latéraux. Equipée de graisseur et de système anti-desserrage de l'écrou de blocage. La monture est conçue pour résister à une charge maximum de 7000N. Appropriée pour des applications industrielles lourdes et des conditions difficiles de travail, telles que les chocs latéraux et les vitesses élevées.

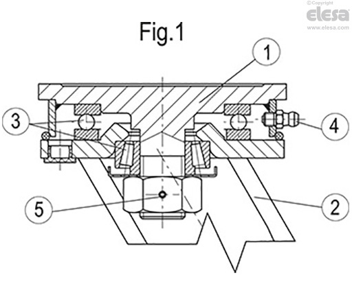
Elle est constituée de (voir fig.1):

  1. platine: acier forgé avec goujon intégré, zingage électrolytique;
  2. chape: fourche emboutie électro-soudée à la bride, zingage électrolytique;
  3. organes de roulement:
  4. graisseur;
  5. système anti-desserrage de l'écrou de blocage.

Frein

Frein postérieur à double effet avec blocage simultané de la roue et de la monture. Le frein est efficace et simple à utiliser: il est actionné et débloqué par une simple action du haut vers le bas effectuée avec la pointe du pied sur deux pédales indépendantes, ce qui garantit une excellente facilité de manœuvre. L'efficacité du freinage peut être réglée par une vis M8 à six pans creux.

Exécutions standards

  • PSL-WH: monture à platine fixe, sans frein.
  • SSL-WH: monture à platine pivotante, sans frein.
  • SSF-WH: monture à platine pivotante, avec frein.
RE.F2-SSF-WH - Monture à platine pivotante, avec frein 
Informations générales

Applications

Appropriées pour des applications industrielles lourdes et des conditions difficiles de travail. Les roues en polyuréthane coulé assurent d'excellentes caractéristiques de résistance au roulement et à l'élasticité , haute résistance à l'usure et à la déchirure. Pour plus d'informations, voir la fiche technique de la roue RE.F2.

Elesa
Tous droits de propriété des modèles réservés. Ne pas reproduire les dessins et les photos sans en citer la source.

POSER UNE QUESTION TECHNIQUE